LW8-40.5型户外六氟化硫断路器概述:
LW8-40.5(T)型户外高压六氟化硫路器是三相交流50赫兹的户外高压电气设备;由乐清市吉电电气有限公司自主研发生产,适用于40.5kV输配电系统的控制和保护;也可用于联络断路器及开合电容器组的场合;并可内附电流互感器供测量与保护用。
- LW8-40.5(T)型断路器配用CT14型弹簧操动机构。
- 断路器符合国家标准GB1984-1989《交流高压断路器》和国际电工委员会标准IEC60056:1987《高压交流断路器》的要求。
- 断路器的主要特点
- 开断性能优良,燃弧时间短,电寿命长,在额定电压下连续开断25千安20次不检修,不更换六氟化硫气体;
- 绝缘可靠,气压在零表压时可耐受40.5千伏10分钟;
- 机械可靠性高,合闸能力强,能频繁操作;
- 开合电容器组电流400安无重燃;
- 切空长线25、50公里无重燃;
- 结构简单、体积小,不检修周期长。
LW8-40.5型户外六氟化硫断路器使用环境:
a 海拔高度:不超过2500;米;高原型4000米;
b 环境温度:-30℃—+40℃(特殊要求-40℃—+40℃);
c 相对湿度:日平均不大于95 %,月平均不大于90 %(25℃);
d 风速:不大于35米 / 秒;
e 污秽等级为III级;瓷套爬距为1050mm(1320mm)(公称爬电比距不低于25 mm / kV)。
f 没有易燃物质、爆炸危险、化学腐蚀及剧烈振动的场合。
LW8-40.5型户外六氟化硫断路器主要技术参数:
1 LW8-40.5(T)型断路器的主要技术参数见表1。
2 断路器装配调整参数见表2。
3 结构及工作原理
3.1 断路器有平行传动(外型见图1、图3)和垂直传动即L型(外型见图2、图4)两种方式,内部结构见图5。
断路器为瓷柱式结构,三相分立,均具有压气式灭弧室,三相气体通过铜管连通。断路器由支柱瓷瓶、电流互感器、灭弧室、吸附器、传动箱、连杆、底架及弹簧操动机构等部分组成。
3.1.1 瓷套
瓷套为断路器主回路与电力系统连接的支持与绝缘构件,由于它与断路器外壳相通,属于压力容器的一人部分,故强度高,气密性好。
3.1.2 LW8-40.5(T)型断路器的灭弧室主要由静触头、动触头、瓷套、气缸及喷口等部件组成(见图5),瓷套及绝缘拉杆构成了动、静触头的对地绝缘。
3.1.3 吸附器
吸附器为铝合金容器。LW8-40.5(T)型断路器的吸器每台装六个,只是其中三个放在传动箱内,三个装在冷却帽内。吸附器内装有F—03分子筛,其作用是吸附六氟化硫气体中的水份及由于电弧作用而分解形成的低氟化物。
表1
序号 |
名称 |
单位 |
数据 |
||||
1 |
额定电压 |
kV |
40.5 |
||||
2 |
最高电压 |
kV |
40.5 |
||||
3 |
额定绝 |
雷电冲击耐压(全波峰值) |
kV |
200*/215(断口)注:标准化185 kV |
|||
工频耐压(1分钟) |
kV |
95/118(断口) |
|||||
4 |
额定电流 |
A |
1600/2000 |
1600/2000/2500/3150 |
|||
5 |
机械寿命 |
次 |
5000 |
||||
6 |
六氟化硫气体额定压力(20℃时表压) |
MPa |
0.40 |
0.50 |
|||
7 |
闭锁压力(20℃时表压) |
MPa |
0.3 |
0.40 |
|||
8 |
最抵使用环境温度 |
℃ |
-40 |
-30 |
|||
9 |
额定短路开断电流 |
kV |
20 |
25 |
25 |
31.5 |
|
10 |
额定短路关合电流(峰值) |
kV |
50 |
63 |
63 |
80 |
|
11 |
额定短时耐受电流(热稳定电流) |
kV |
20 |
25 |
25 |
31.5 |
|
12 |
额定峰值耐受电流(动稳定电流) |
kV |
50 |
63 |
63 |
80 |
|
13 |
额定失步开断电流 |
kV |
5 |
6.3 |
6.3 |
8 |
|
14 |
额定短路开断电流下的累计开断次数 |
次 |
20 |
||||
15 |
额定短路持续时间 |
S |
4 |
||||
16 |
合闸时间(额定操作电压下) |
S |
≤0.1 |
||||
17 |
分闸时间(额定操作电压下) |
S |
≤0.06 |
||||
18 |
额定操作顺序 |
分-03s—合分 |
|||||
19 |
额定开合单个电容器组电流 |
A |
400 |
||||
20 |
年漏气率 |
% / 年 |
≤1 |
||||
21 |
六氟化硫气体水份含量(20℃时) |
uL/L |
≤150 |
||||
22 |
配CT14型弹簧操动机构的额定操作电压 |
||||||
合闸线圈、分闸线圈电压 |
V |
交流:220 380 |
|||||
储能电机电压 |
V |
交流:220 |
|||||
23 |
六氟化硫气体重量 |
Kg |
5 |
||||
24 |
断路器(包括操动机构)重量 |
kg |
1000 |
||||
3.1.4 传动箱
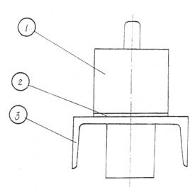
传动箱为钢板焊接构件(图6),其作用是将机构输出的水平运动通过外拐臂、轴及内拐臂转换成断路器动触头的垂直运动;轴的两端装有转动密封圈。在外拐臂的上、下分别装有合闸缓冲器和分闸缓冲器,传动箱侧部的自封阀是断路器充、放气及管道连接的接口,可用于测量断路器水份用。瓷柱式断路器如果带CT时二次线由传动箱侧面引出。
3.2 灭弧原理
断路器的灭弧室为单压力压气式结构:即断路器内充有0.4-0.5Mpa表压的六氟化硫气体,分闸过程中,可动气缸对静止的触座作相对运动,气缸内的气体被压缩,与气缸外的气体形成压力差,高压力的六氟化硫气体通过喷口强烈吹拂电弧,迫使电弧在电流过零时熄灭,一旦分断完毕,此压力差很快就消失,压气缸内外压力恢平衡,由于静止的触座上装有逆止阀,合闸时的压力差非常小。
表2
序号 |
项目 |
单位 |
技术要求 |
测试条件或测试方法 |
|||
1 |
动触头行程 |
Mm |
95±2 |
测量动触头行程参见图13 |
|||
2 |
触头开距 |
Mm |
60±1.5 |
测量动、静弧触头间距离参见图13 |
|||
3 |
极间合闸同期性 |
Ms |
≤3 |
测量动、静弧触头极间距离之差参见图15 |
|||
4 |
极间分闸同期性 |
Ms |
≤2 |
测量动、静弧触头极间距离之差参见图16 |
|||
5 |
主回 |
uΩ |
1600A |
2000A |
2500A |
直流电压降法测量,测量时通以电流100A |
|
LW8-40.5(T) |
≤150 |
≤120 |
≤100 |
||||
LW8-40.5(T) |
≤120 |
≤100 |
≤80 |
||||
6 |
刚合速度 |
M/s |
3.2±0.2 |
额定气压、测量方法参见图15 |
|||
7 |
刚分速度 |
M/s |
3.4±0.2 |
额定气压、测量方法参见图16 |
|||
8 |
合闸缓冲行程 |
Mm |
10-1+0.5 |
在合闸状态下参见图6 |
|||
9 |
合闸缓冲的定位间隙 |
Mm |
1-2 |
在合闸状态下参见图6 |
|||
10 |
局部放电 |
PC |
20 |
额定气压下,用局部放电测量仪,在断路器两出线端施电压40.5kV,停留1分钟测量,再将电压均匀降至25.7kV测量 |
|||
PC |
10 |
||||||
- 3 互感器
- 3. 1 互感器两种型号,LW8-40.5(T)·LW型供测量用,LW8-40.5(T)(A)·LW型为10P级,供差动或过流保护用。用户可根据需要装LR-40.5(A)·LW型或LRD-40.5(A)·LW型互感器。每一种规格有四个接头,可以获得三种电流比,利用互感器接线板可以方便的改变电流比,操作时将罩壳打开即可。断路器用常规互感器的技术参数见表4。高精度电流互感器的技术参数见表3。
表3 LW8-40.5(T)断路器内附高精度电流互感器技术参数
序 号 |
型 号 规 格 |
接线抽头 |
电流比 |
最高可达 |
额定负荷 |
备注 |
|
1 |
LR—35一100 |
K1—K2 |
50/5 |
0.5 |
7.5 |
加高 |
|
K1—K3 |
75/5 |
0.5 |
10 |
||||
K1—K4 |
100/5 |
0.2 |
10 |
||||
2 |
LRD—35—200 |
K1—K2 |
100/5 |
0.2 |
15 |
加高 |
|
K1—K3 |
100/5 |
0.2 |
15 |
||||
K1—K4 |
150/5 |
0.2 |
15 |
||||
3 |
LR—35一300 |
K1—K2 |
150/5 |
0.2 |
15 |
||
K1—K3 |
200/5 |
0.2 |
15 |
||||
K1—K4 |
300/5 |
0.2 |
15 |
||||
4 |
LR一35一400 |
K1一K2 |
200/5 |
0.2 |
15 |
||
K1一K3 |
300/5 |
0.2 |
15 |
||||
K1一K4 |
400/5 |
0.2 |
15 |
||||
5 |
LR一35一600 |
K1一K2 |
300/5 |
0.2 |
15 |
||
K1一K3 |
400/5 |
0.2 |
15 |
||||
K1一K4 |
600/5 |
0.2 |
20 |
||||
6 |
LR一35一800 |
K1一K2 |
400/5 |
0.1 |
20 |
||
K1一K3 |
600/5 |
0.1 |
20 |
||||
K1一K4 |
800/5 |
0.1 |
20 |
||||
7 |
LR一35一1000 |
K1一K2 |
600/5 |
0.1 |
20 |
||
K1一K3 |
800/5 |
0.1 |
20 |
||||
K1一K4 |
1000/5 |
0.1 |
20 |
||||
8 |
LR一35一1200 |
K1一K2 |
800/5 |
0.1 |
25 |
||
K1一K3 |
1000/5 |
0.1 |
25 |
||||
K1一K4 |
1200/5 |
0.1 |
25 |
||||
9 |
LR一35一1500 |
K1一K2 |
1000/5 |
0.1 |
30 |
||
K1一K3 |
1200/5 |
0.1 |
30 |
||||
K1一K4 |
1500/5 |
0.1 |
30 |
||||
10 |
LR一35一1800 |
K1一K2 |
1200/5 |
0.1 |
30 |
||
K1一K3 |
1500/5 |
0.1 |
30 |
||||
K1一K4 |
1800/5 |
0.1 |
30 |
||||
11 |
LR一35一2000 |
K1一K2 |
1500/5 |
0.1 |
30 |
||
K1一K3 |
1800/5 |
0.1 |
30 |
||||
K1一K4 |
2000/5 |
0.1 |
30 |
||||
12 |
LR一35一2500 |
K1一K2 |
1800/5 |
0.1 |
30 |
||
K1一K3 |
2000/5 |
0.1 |
30 |
||||
K1一K4 |
2500/5 |
0.1 |
30 |
||||
注:(1)LR型与LRD型即测量用电流互感器与保护用电流互感器,在同一栏中LR型不具有准确限值系数,表3额定负荷栏中括号内数据专指LW8-40.5(T)(A)型内附CT。
(2)本断路器内附互感器为穿心式套管型电流互感器。
(3)本厂可根据用户要求,设计制造特殊CT,如准确级为0.2级、0.1级或0.5S级、0.2S级,额定负载阻抗加大,电流比变化,额定二次电流为1A,准确限值系数提高等,各种具体技术参数可通过协商进行解决。对于LW8-40.5(T)(CT)型断路器,互感器400/5以下变化,装配数量超过6只,各种技术参数需通过协商解决。
表4 LW8-40.5(T)常规电流互感器技术参数
| 序 号 |
型号规格 |
接线抽头 |
电流比 |
准确级 |
额定负荷 |
准确限值 |
1 |
LR一35A·LW一200 |
K1一K2 |
100/5 |
5 |
15 |
/ |
K1一K3 |
150/5 |
3 |
15 |
/ |
||
K1一K4 |
200/5 |
3 |
15 |
/ |
||
2 |
LRD一35A·LW一200 |
K1一K2 |
100/5 |
10P |
15 |
5 |
K1一K3 |
150/5 |
10P |
15 |
10 |
||
K1一K4 |
200/5 |
10P |
15 |
10 |
||
3 |
LR一35A·LW一400 |
K1一K2 |
200/5 |
0.5 |
15 |
/ |
K1一K3 |
300/5 |
0.5 |
15 |
/ |
||
K1一K4 |
400/5 |
0.5 |
15 |
/ |
||
4 |
LRD一35A·LW一400 |
K1一K2 |
200/5 |
10P |
20 |
10 |
K1一K3 |
300/5 |
10P |
20 |
10 |
||
K1一K4 |
400/5 |
10P |
20 |
10 |
||
5 |
LR一35A·LW一600 |
K1一K2 |
300/5 |
0.5 |
15 |
/ |
K1一K3 |
400/5 |
0.5 |
15 |
/ |
||
K1一K4 |
600/5 |
0.5 |
15 |
/ |
||
6 |
LRD一35A·LW一600 |
K1一K2 |
300/5 |
10P |
20 |
10 |
K1一K3 |
400/5 |
10P |
20 |
10 |
||
K1一K4 |
600/5 |
10P |
20 |
10 |
||
7 |
LR一35A·LW一800LRD |
K1一K2 |
400/5 |
0.5 |
25 |
10 |
10P |
||||||
K1一K3 |
600/5 |
0.5 |
25 |
15 |
||
10P |
||||||
K1一K4 |
800/5 |
0.5 |
30 |
20 |
||
10P |
30 |
|||||
8 |
LR一35A·LW一1000LRD |
K1一K2 |
600/5 |
0.5 |
25 |
15 |
10P |
||||||
K1一K3 |
800/5 |
0.5 |
30 |
20 |
||
10P |
30 |
|||||
K1一K4 |
1000/5 |
0.5 |
30 |
20 |
||
10P |
30 |
|||||
9 |
LR一35A·LW一1200LRD |
K1一K2 |
800/5 |
0.5 |
30 |
20 |
10P |
30 |
|||||
K1一K3 |
1000/5 |
0.5 |
30 |
20 |
||
10P |
30 |
|||||
K1一K4 |
1200/5 |
0.5 |
30 |
20 |
||
10P |
30 |
|||||
10 |
LR一35A·LW一1500LRD |
K1一K2 |
1000/5 |
0.5 |
30 |
20 |
10P |
30 |
|||||
K1一K3 |
1200/5 |
0.5 |
30 |
20 |
||
10P |
30 |
|||||
K1一K4 |
1500/5 |
0.5 |
30 |
20 |
||
10P |
30 |
|||||
11 |
LR一35A·LW一1800LRD |
K1一K2 |
1200/5 |
0.5 |
30 |
20 |
10P |
30 |
|||||
K1一K3 |
1500/5 |
0.5 |
30 |
20 |
||
10P |
30 |
|||||
K1一K4 |
1800/5 |
0.5 |
30 |
20 |
||
10P |
30 |
|||||
12 |
LR一35A·LW一2500LRD |
K1一K2 |
18000/5 |
0.5 |
30 |
20 |
10P |
30 |
|||||
K1一K3 |
2000/5 |
0.5 |
30 |
20 |
||
10P |
30 |
|||||
K1一K4 |
2500/5 |
0.5 |
30 |
20 |
||
10P |
30 |
(4)对于表3中200/5以下电流比的电流互感器,为保证其应有的精度,使用时负荷应相匹配。应根据我厂提供的测试合格证的参数进行选择。
(5)定货时必须注明互感器的规格型号电流比、准确级、额定负荷等参数,如未注明则按常规电流互感器参数供货。
(6)表3“备注”一档中加高CT实际高度为两只CT高度,在装有此类CT时,装配数量相应减少。
3.3.4 互感器的装配位置符合下述规定:当用户无特殊要求时,LRD型在下方,LR型在上方,如用户有特殊要求,可按用户要求进行装配。
3.3.5 互感器接线
互感器的接线图22进行,接线板上导线面积为2.5mm2。
3.3.6 铭牌
互感器铭牌置于机构箱左门内侧。
3.4 操动机构
3.4.1 操动机构主体部分见图15,CT14型弹簧机构采用夹板式结构,机构的储能驱动部分和合闸驱动部分为凸轮一四连杆机构,在机构的右、中侧板之间布置着凸轮、半轴、扇形板、输出轴、缓冲器、“分”、“合”指示牌、合闸电磁铁等部件;在机构的左、中侧板之间布置关棘轮、驱动块等零部件;转换开关、计数器、手动“分”、“合”按钮等分别布置在机构的上中部;储能电机、加热器等布置在机构的下方;在左侧板的外面装有接线端子、自动开关等;切换电机回路的行程开关布置在右侧板下边;储能弹簧分别布置在左、右侧板的外侧;机构通过固定在机构下部的两个角钢和后面的两个角钢上的安装孔,用M16的螺栓安装在机构箱内,再通过机构箱后面的安装孔用4个M20的螺栓与断路器相连结。
3.4.2 CT14型弹簧操动机构的合闸弹簧的储能方式有电动机储能和手力储能;合闸操作有合闸电磁铁操作和手动按钮操作;合闸操作有分闸电磁铁操作和手动按钮操作。
3.4.3 储能电机,采用HDZ型交直流两用单相串激电动机,其主要技术参数见能5。
表5
额定工作电压(V) |
直流:220/110交流:220/110 |
额定功率(W) |
900 |
正常工作电压范围 |
85%—110%额定工作电压 |
额定工作电压下储能时间(S) |
小于15 |
3.4.4 储能手柄:采用700毫米长(直径20毫米)的储能手柄时最大操作力小于370N。
- 合闸电磁铁:采用螺管式电磁铁,其技术参数如表8所示。
表6
额定工作电压(V) |
~220 |
~380 |
—48 |
—110 |
—220 |
|
额定工作电流(A) |
3.5 |
2 |
10.5 |
4.6 |
2.3 |
|
20℃时线圈电阻(Ω) |
3.9 |
10.2 |
4.5 |
24 |
95 |
|
正常工作电压范围 |
85%~110%额定工作电压 |
|
||||
3.4.6 分闸电磁铁:采用螺管式电磁铁,由独立电源供电,其技术参数如表7所示。
表7
额定工作电压(V) |
~220 |
~380 |
—48 |
—110 |
—220 |
额定工作电流(A) |
3.5 |
2 |
13.7 |
6 |
3 |
20℃时线圈电阻(Ω) |
7 |
23.5 |
3.5 |
18.3 |
74.3 |
正常工作电压范围 |
65%~120%额定工作电压,小于30%额定电压连续3次操作不得分闸。 |
||||
- 4。7 机构输出轴工作转角57—60度;重量约400kg。
3.4.8 辅助开关,选用F9-161A/W型,共有8对常开触点,8对常闭触点,允许长期通过电流不小于10A。
3.4.9 行程开关具有一对转换触头,触头能通过持续电流不小于10A。
3.4.10 接线端子能通过的持续电流不小于10A。
3.4.11 二次控制回路原理图及接线图见图26a~26d。
3.5 断路器的传动系统及动作原理。
3.5.1 电动合闸
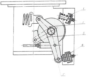
合闸弹簧储能见图18,由电动机带动偏心轮(1)按图示方向转动,通过紧靠在偏心轮表面的滚轮(2)推动驱动块(3)作上下摆动,从而带动驱动棘爪(5)上下摆动,推动棘轮(7)按图示方向转动,棘轮与储能轴(8)是空套的,在储能开始时电机只带动棘轮作空转,当转到固定在棘轮上的轴销(14)与固定在储能轴上的驱动板(11)顶住以后,棘轮就通过驱动板带动储能轴也按图示箭头方向转动。挂弹簧拐臂(13)与储能轴是键联接,储能轴的转动带动了挂弹簧拐臂也按图示箭头方向转动,将合闸弹簧(16)拉长。当储能轴转到将合闸弹簧拉到最长们置后,再向前转一点(约4·)储能轴就会被合闸弹簧带动自行过中,这时行程开关切断储能电机电源,驱动板将固定在驱动棘爪上的靠板(6)推开,驱动棘爪抬起,保证驱动棘爪与棘轮可靠脱离。
电动合闸见图19,图表示已储能时合闸操作系统的位置,实线图表示机构处于分闸并储能时该系统的位置,图19b表示机构处于合闸并已储能时该系统的位置。双点划线表示操作系统实行“合闸操作”的状态。
合闸过程如下:机构接受合闸信号以后,合闸电磁铁(1)的铁芯被吸向下运动,拉动导板(2)也向下运动,使杠杆(3)顺时针方向转动,杠杆(3)的转动带动固定在定位件(9)上的滚子(10)运动,推动定位件(9)逆时针转动,解除储能维持,合闸弹簧释放其通用能量,通过连杆传递到断路器传动箱的外拐臂上,使内外拐臂转动,并由内拐臂经绝缘连杆推动动触头向上运动,使断路器合闸,与此同时,外拐臂的转动使分闸弹簧储能。
3.5.2 手动合闸:按动合闸按钮(7),通过调节螺杆推动定位件(9)作逆时针转动完成合闸操作(见圈23)。
3.5.3 自由脱扣。见图20。当机构处于分闸并且合闸弹簧已储能的位置时,如图20a所示凸轮连板机构的扇形板(4)由复们弹簧(1)拉动复位到图示位置,半轴(2)由本身复位弹簧带动复位到图示位置。这时凸轮连杆机构完成了合闸的全部准备动作,一旦接受了合闸信号,定位件(6)抬起,将储能轴(凸轮5)的储能维持解脱,凸轮连杆机构的主要驱动元件凸轮(5)在合闸弹簧的带动下,按逆时针方向转动,在凸轮转动过程中,凸轮工作推动滚轮(7)向下方运动,带动连板(3)、扇形板(4)作逆时针转动,直到扇形板与半轴扣住为止,这时连板与扇形板(4)的公共转轴成为凸轮连杆机构合闸四连杆的一个临时支点,使连板(3)、连板(8)和输出拐臂(9)组成的一组合闸四连杆向合闸方向运动,当合闸弹簧拉到最短位置时,凸轮停止转动,如图20b所示,输出轴旋转一个合闸转角,上述四连杆完成了合闸动作。在凸轮连杆机构的整个合闸过程中,包括合闸开始和合闸终了,一旦凸轮连杆机构的半轴作顺时针转动,扇形板与半轴间的扣接就会被解除,连板(3)与扇形板(4)的公共储能轴(10)的临时支点将发生位移,破坏了合闸四连杆的运动,输出轴的合闸动作也就立即结束,并在分闸弹簧的作用下实现分闸,也就是实现自由脱扣。
3.5.4 重合闸:图20d画出了凸轮连杆机构处于合闸并且合闸弹簧已储能的位置,这时一旦半轴作顺时针转动,合闸四连杆会象上面叙述的一样完成分闸动作,而合闸弹簧早已准备好了进行再一次合闸动作,即实现一次自动重合闸。在使用中断路器可以完成“分—0·3秒—合”成功或“分—0·3秒一合分”不成功的自动重合闸操作,重合闸仍保证铭牌开断容量。
3.5.5 分闸操作:分闸操作分为手动按钮操作和分闸电磁铁操作两种,如图21所示。
电动分闸操作,如图21所示,半轴(8)的位置为断路器处于合闸状态时的位置,当弯板(5)下方的分闸电磁铁(1)接到分闸信号,分闸电磁铁里的铁芯就被吸合向上运动,推动顶杆(6)向上运动,顶杆推动弯板(5)作图21b双点划线所示方向运动,从而带动半轴作同样方向的转动,当半轴转到一定位置时,扇形板与半轴的扣接解除,他闸弹簧释放能量,带动拐臂反向转动,使动触头向下运动,断路器分闸。分合闸缓冲是为了吸收触头在分、合闸动作完成后所剩余的动能,并限制动触头的终止位置。
手动分闸操作:当用手按分闸按钮,固定在半轴上的弯板作顺时针方向运动,从而完成了断路器的
分闸操作。
3.5.6 手动合闸:在机构与断路器连接之后应进行慢合试动作,以排除整个系统的卡阻现象。操作时先将机构的合闸弹簧取下,并且将棘爪上的靠板卸掉,用手力储能的办法使储能轴转轴到储能位置后,用手推合闸按钮将定位件抬起,然后用手力储能手柄渐渐驱动储能轴向合闸方向转动,直到合闸完毕,在整个慢合过程中,手柄上应无特大阻力或“跳跃性反力”(即机构的负载应均匀的增大或减小)。在慢合手应注意重新装上合闸弹簧和棘爪上的靠板。
3.6 气体监测
气体监测采用SF6带指示密度控制器和电接点方式。
密度控制器可显示六氟化硫气体压力,并能对断路器实行自动监控。它能自动修正温度对压力变化的影响,当断路器内气体压力低于0.42Mpa(一40℃地区0.32Mpa)时,密度控制器的1、2接点接通,发出报警信号;当断路器内气体压力低于0.4 Mpa(一40℃地区0.30 Mpa)时,密度控制器的3、4接点接通,发出闭锁信号。
4 运输、验收及保管
4.1 断路器处于分闸、合闸弹簧未储能位置,以整装状态运输。出厂时断路器充有0.45 Mpa压力的SF6气体。短途汽车运输采用简易包装,瓷套有防护罩。出国产品及铁路运输有包装箱,附件及资料单独装箱发运。
- 2 运输和装卸时不得倾翻、碰撞和强烈震动。
4.3 起吊注意事项:
a起吊前预备好起吊钢丝绳(长度为2200mm×4,带吊钩)及吊具(见图15),并要求二者有足够强度;(钢丝绳须有棉质护套以防划伤瓷套)
b根据互感器铭牌,确定断路器中互感器数量,掌握重心位置,小心缓慢起吊,防止断路器倾翻、碰撞;(起吊位置见底架起吊螺钉)
c在吊装过程中,均应轻起、轻放,避免钢丝绳靠压在瓷套上及强烈震动;
d起吊相对高度不得超过1000 mm。
4.4 验收:
4.4.1 用户在断路器到达后,应立即开箱检查断路器是否完好无损,并核对断路器气体压力,如有异常,应立即与本厂联系。
4.4.2 核对断路器铭牌上的数据与订货单上是否相符,并根据装箱单,核对文件及附件是否齐全。
4.4.3 将断路器外表面尘埃及污物清除干净。
4.4.4 断路器如长期存放,应定期检查并将机构的转换开关接线端子的导电部分涂工业凡士林油。存放室内或棚屋内保管,并且干燥通风。同时,如果断路器长期不投入运行,应将加热器投入,以便驱潮。
5 安装及运行前的检查
5.1 断路器安装前应按需要准备好牢固的基础及必要的场地(参见图3、图5、L型见图4、图6)LW8-40.5(A)型断路器向上的动载荷2000kg,向下的动载荷为2500 kg。如为旧站改造,配用原多油断路器基础上,用户可不必重新浇筑地基,只需按我厂设计的过渡基础架即可。
- 2 断路器装配调试合格后整装出厂,在使用现场去掉包装,清扫污垢后可直接安装在预备好的基础上,须用地脚螺栓将断路器及操动机构部分固定牢靠。地脚螺栓为M20×500。LW8-40.5(T)型断路器,地脚螺栓数量为8只。
5.3 连接
5.3.1 主回路接线前,应将套管上接线面清理干净,(接线面有镀银层,不允许用砂布磨),便可与外部连接。外部接线端子应与出线孔相配,参见(图8),接线螺栓为M16×25,24只。
5.3.2 利用接地螺栓可靠连接地线。
5.3.3 二次回路电缆应穿过六个ф40孔图11进入机构箱:ф40孔上有橡皮套,橡皮套中间是不通的。根据电缆的数量和直径将橡皮套开通。孔径应小于电缆外径约2毫米;这样可以保证防尘效果。
5.3.4 将互感器外部引线与机构箱端子相连,导线截面不得小于2.5平方毫米(铜芯)。根据实际需
要的电流比,按图2的说明,接到互感器相应的接头上。在运行中,电流互感器二次回路不允许开路,接线必须十分牢靠。
5.3.5 连接控制回路参考图24a一24d进行,连接导线截面不得小于1.5平方毫米(铜芯)。
5.4检查试验
5.4.1 断路器在出厂前,已全部安装调整完毕,并充好0.45Mpa的六氟化硫气体,用户在安装就位后,不需要将断路器打开,充六氟化硫气体。检查气压表有没降低,如有降低再检查所有密封法兰面的螺栓有否松动,瓷件有无破损,三相气体连通管及SF6密度控制器安装是否完好。
5.4.2 断路器充气按下列步骤进行。
a.将六氟化硫气瓶横倒放置,接上氧气减压阀,并将充气管(见图12)与减压阀连接好。
b.先打开气瓶阀门,再开启减压阀,使低压侧压力为0.02~0.04Mpa,然后用一直径8毫米的紫铜棒将充气管阀芯顶开,放气5~10秒,冲洗管道。
C将断路器C相传动箱下的堵头旋下,将充气管接上,然后缓慢地开启减压阀,对断路器充气,在充气时,减压阀低压侧与断路器的压差不大于0.05Mpa。当断路器内气体压力接近额定压力时,充气应缓慢地进行,以避免断路器压力过高。
d·当断路器内气体充到额定压力时,即关闭减压阀,先将充气管从断路器接口上卸下,并随即用堵关头拧到接口上,将接头与充气管连接处旋开(见图12)。关闭气瓶阀门,卸下减压阀,将减压阀和接头放到干燥的地方存放,以备下次再用。
5.4.3 断路器在充气至额定压力后,应对所有密封面进行定性检漏。检漏采用灵敏度为10-6的卤素检漏仪,不应有漏点存在,如发现漏点可与本厂联系。
5.4.4 断路器内SF6气体含水量的查测:水分查测应在断路器充气24小时后进行,利用断路器充气接口,接上一锥形针式减压阀用以控制气体流量,用微量水份检测仪进行水份测量,测得数据应根据环境温度并对照图23水份含量一温度曲线,其数值现场交接不应超过150ppM(20℃),运行中不超过300 ppM(20℃)。
5.4.5参见图19、图21,用手推合闸按钮,无卡阻现象,转动灵活,分闸按钮操作时转动灵活,无卡阻现象,分闸铁心动作正常。
5.4.6 测量回路电阻,应符合表2项5要求。
5.4.7 绝缘检查
a主回路(合闸位置):出线端外施电压40.5千伏,停留1分钟,测量局部放电量,其值不大于20pc,再将电压均匀降至25.7千伏,测量局部放电量,其值不大于10pc,无局电放条件可用工频耐压试验替代;
b.二次回路:不小于1兆欧(运行中不小于0.5兆欧),用1000伏或500伏兆欧表。
c.储能电机:不小于0.5兆欧,用500伏兆欧表。
- 操作试验
进行下述操作试验应动作正常:
a30%额定分闸电压连续通电三次,不应分闸;
b.85%和110%的额定合闸电压及65%和120%的额定分闸电压“合”、“分”各二次,能可靠合分闸:
注:如安装地点操作电压达不到规定上限值,允许用运行期间可能达到的最高电压代替进行此项试验。
C.额定分、合闸电压进行“分一0.3秒一合”、“合分”、“分一0.3秒一合分”各二次,“合”、“分”各三次,如断路器作用时不要求重合闸,可按“合分”四次及“合”、“分”各七次操作;
d 测量合闸缓冲符合表3项8要求,测量位置参见图10。
5.4.9 分、合闸指针批示位置正确,其固定螺钉拧紧。
5.4.10 表2中各项技术要求发吸怀疑或其它调整及变动时,也可以进行相应的检查。
6 维护与检修
6.1 维护
断路器在运行时,要定期进行维护检查,维护检查内容有:有无漏气点(检查漏气点用灵敏度为10-6卤素检漏仪),密度控制器压力表指示是否正常,瓷套有无破损及严重脏污,分、合闸指针的批示位置、机构动作是否正常,检查紧固螺母,断路器内部有无异常声响,严重发热等异常现象,如发现问题,须查明原因,考虑对正常运行是否有严重影响,有时应及时退出运行,进行清扫检修。
断路器长期不运行,亦应进行定期检查和维护,避免发生锈蚀、受潮等不良现象。
6.2 检修
6.2.1 断路器在下列情况下应进行检修
a.运行时间10年;
b.操作次数达到表1序号5所列机械寿命次数;
c.开断额定短路开断电流次达到表1序号14所列累计开断次数。
6.2.2 检修环境应清洁干燥,通风良好。解体前的气体回收按《用于电气设备的SF6。气体质量监察督与安全导则》中的有关规定处理。解体后主要检查更换磨损、烧损及腐蚀比较严重的零件,更换已老化的密封圈,以及换吸附剂(更换下来的吸附剂应按有关规定妥善处理)。重新清洗各零部件(用工业酒精),绝缘件送入烘炉在80~100℃烘4小时后进行装配调整,吸附剂在500一550℃烘干2小时后装配,装配应迅速并及时配本体封闭抽真空。检修可在制造厂指导下进行,如有必要也可以与制造厂协商,到制造厂检修。
6.3 测量与调整
6.3.1 动触头行程和触头开距的测量见图13。开距的调整通过调整分闸缓冲来实现,并要求拐臂上滚轮紧靠在分闸缓冲器上。水平连杆的调切可使断路器三相同步,行程的调整要通过调整机构与断路器连接的螺套来实现。
6.3.2 合闸缓冲的行程和定位间隙的测量见图6,通过调整垫片达到行程10±0.5 mm间隙1一2mm的要求。
6.3.3 断路器分、合闸速度,分、合闸时间用示波器及测速板(见图14)测量,详见图15、图16。分合闸速度的调整通过调整分合闸弹簧的预拉伸长度来实现,合闸弹簧的预拉伸范围为15~30mm,分闸弹簧的预拉伸范围为8~20 mm。
- 3·4 凸轮连板机构的半轴位置的调整如图21所示,半轴位置正确与否直接关系到机构动作的可靠性和安全性。机构在合闸位置时,半轴(8)与扇形板(7)扣接量的调整是通过调整螺钉(2)来实现的,调整在2一4 mm的范围内。半轴由于惯性将继续按顺时针方向转动,这个转动的极限位置是通过调整限位螺钉(9)来控制的。要求半轴转动到极限位置时,半轴的平面与地基平面平行。
6.3.5 合闸联锁板位置的调整,如图19所示,合闸联锁板位置的调整是通过调节拉杆(14)的长度来实现。
6.3.6 分闸缓冲器行程的调整,如图22所示,缓冲器的行程要求为11一14mm。若达不到要求可增加或减少调节垫片(2)来进行调节。
6.3.7 储能维持定位件与滚轮之间扣接量的调整,如图19所示,这个扣接量通过调节定位件(9)与手动合闸按钮(7)之间的拉杆长度来实现。一般应使滚轮扣接在定位件圆柱面的中部附近,当合闸电磁铁吸合到底时,应能可靠地将定位件与滚轮解扣。
6.3.8 辅助开关的调整,辅助开关与输出轴之间的动作关系由调节它们之间的拉杆长度来实现。
6.3.9 “分”、“合”指示牌的调整,“分”、“合”指示牌的位置可通过调节连接它和输出轴之间的拉杆来实现 。
6.3.10 行程开关的调整,行程开关位置的调整通过行程开关本身及其安装板上的安装孔来实现,调整中应保证当挂弹簧拐臂到储能位置时使行程开关接点分断,同时还应保证行程开关的行程有一定的余度,以免顶坏行程开关。
6.3.11 合闸电磁铁拉杆螺钉的调整,如图19所示合,连接合闸电磁铁铁芯的拉杆长度应是铁芯拉出合闸电磁铁15一20MM。
6.4 断路器与机构配合动作试验
6.4.1 断路器与机构之间的连接,应在断路器处于分闸位置,机构处于未储能状态时进行。连接以后,要求机构处于储能位置时,凸轮连杆机构的扇形板一定要复位到脱离半轴,以保证半轴自由复位。如果这时扇形板不能复位到正常位置时,说明机构输出轴的分闸位置不正确,应通过调整机构与断路器之间拉杆长度来调整机构输出轴的分闸位置,同时也可调整扇形板与半轴之间的间隙来适当调整断路器的行程,此间隙约为2~6 MM。
6.4.2 在机构与断路器连接之后,应进行慢合试操作,以排除整个系统的卡阻现象。慢合前先将机构的合闸弹簧松开、取下,并且将棘爪上的靠板卸掉,用手力储能的办法使储能轴转到储能位置后,用手合按钮将定位件抬起,然后继续用手力储能手柄渐渐驱动储能轴向合闸方向转动,直到合闸完毕。在整个慢合过程中,扳手或柄上无特大阻力或“跳跃性反力”(即机构的负载应均匀地增大或减小)。在慢合后应注意重新装上合闸弹簧和棘爪上的靠板。
6.5 断路器全部安装调整完成以后投入运行之前,还应进行下述检查。
6.5.1 断路器装好后随即抽真空至132Pa(1托),维持半小时再抽真空半小时,然后充以合格的SF6气体至额定压力,24小时后测量水份含量。
6.5.2 在操动机构各转动部分,机构与断路器连接的转动部分适当加润滑油。
6.5.3 进行储能、合闸、分闸操作试验。
6.6 检修注意事项
6.6.1 断路器在真空状态下不允许进行“合”、“分”操作,以免损坏灭弧室零部件,影响断路器的正常运行。断路器只能在额定压力允许范围进行“合”、“分”操作试验。
6.6.2 断路器传动拐臂及机构各转动部分加适量的润滑油。
6.6.3 机构在正常检修时应将合闸弹簧所储能量释放。释放合闸弹簧能量的办法可以是断路器进行一次“合一分”闸操作(操作时应将电机电源切断,以防再次储能)。
6.6.4 机构具有合闸操作的机械联锁,只有当输出轴处于分闸位置时才能进行合闸操作,因此当机构在未连接断路器而合闸弹簧又储能的时候,应先将输出轴调到分闸位置,用手分按钮将半轴与扇形板的扣接打开,然后给合闸信号(用电磁铁或手合按钮),使合闸弹簧空载释放能量。
7 成套、备件及专用设备
7.1 成套
a . LW8-40.5(T)高压SF6断路器一台;
b .CT14型弹簧机构一台(与断路器配在一起)。
c. 产品合格证,使用说明书各一份。
注:①每台断路器附装的互感器各不相同,机构操作电压也有差别,产品出厂时按定货合同配给。
7.2 备件
产品运行所需的备件由用户打购后供给。选购备件可参照表8及表9进行。表中的台用量供用户选购备件时参考,而不是每台断路器所需备件数量。
表8 备件
序号 |
代号 |
名 称 |
数 量 |
简 图 |
用 途 |
1 |
|
SF6 |
1 |
|
内充SF6气体 |
2 |
LW(F)·1/230 |
测速 |
1 |
|
测量分、合闸速度,分、合时间见图14 |
3 |
LW(F)一3/288 |
垫圈 |
1 |
测断路器水份用间装在298接头与锥式减压阀间 |
|
4 |
LW(F)·13/298 |
接头 |
1 |
|
测断路器水份用,一端接断路器,一端接锥式减压阀 |
5 |
CT·2·12·2 |
合闸 |
1 |
|
合闸电磁铁 |
6 |
CT·2·8·1 |
分闸 |
1 |
|
分闸电磁铁 |
7 |
LW(F)·4/245 |
充气 |
1 |
|
往断路器充气使用,减压阀接气瓶,另一端接断路器 |
表9 (1)备件 1(检修断路器用)
8 订购断路器
8.1 订购本断路器必须注明
- 断路器型号及操动机构型号;如订L型、加长型、B布置等方式应特别注明;
- 断路器的额定电流,额定短路开断电流;
- 操动机构的额定分、合闸操作电压,储能电机电压;
- 附装的电流互感器的型号、电流比规格、数量、准确级、额定负荷及安装位置;
- 使用环境条件(环境温度、污秽等级);
- 气体监测方式(用带指示密度控制器);
- 电气原理图须注明采用附图中哪种接线方式,如有特殊要求,需向制造厂家提供图纸;如未注明则采用图24。
8.2 订购备件
订购备件7·2条进行并在合同中注明备件种类、数量、工厂按用户订货合同给备件
表 9(2) 备件
序号 |
代 号 |
名称 |
简 图 |
台量 |
使用部位 |
1 |
LW·4(G)/285 |
瓷套 |
|
6 |
主导电回路出线 |
2 |
LW·2·2·2一1/37 |
喷口 |
|
3 |
动触头 |
3 |
LW·2·1·1/15 |
静弧 |
|
3 |
静触头 |
4 |
LW·2·2·2·1/38 |
动弧 |
|
3 |
动触头 |
5 |
LW·2·2一6/45 |
带状 |
|
3 |
动触头 |
6 |
CT2·3一12/403 |
滚轮 |
|
1 |
机构输出轴 |
7 |
LW一1/2 |
密封 |
5.33×φ104.14内径 |
12 |
吸附筒密封 |
8 |
LW·2一3/97 |
密封 |
6.99×φ129.54内径 |
12 |
瓷套两端 |
9 |
LW·2一2/48 |
密封 |
7×φ258内径 |
9 |
灭弧室端面密封 |
10 |
LW·2·3一8/96 |
密封 |
5.33×φ85内径 |
4 |
传动箱转轴面密封 |
11 |
LW·2一8/111 |
密封 |
3.55×φ15.6内径 |
8 |
连接管头径向密封 |
12 |
LW·3一9/98 |
密封 |
5.7×φ170外径 |
6 |
互感器出线罩密封 |
13 |
CT·2·12·1一4/507 |
密封 |
3×φ28内径 |
1 |
油缓冲器顶杆密封 |
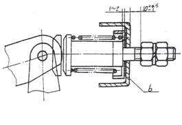
图1 LW8-40.5(T)瓷柱式平行布置型断路器外形
注:1、此型为机构与本体分体运输及起吊;
2、带*相间距640时对应2120.580,仅用
于户内,如需订相间距640,请特别证明。
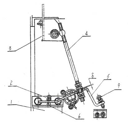
图2 LW8-40.5(T) 瓷柱式垂直布置型断路器外形
注:1、此型为机构与本体分体运输及起吊;
2、带*相间距640时对应2120,仅用于
户内,如需订相间距640,请特别证明。
图4 LW8-40.5(T)(带CT) 瓷柱式垂直布置型断路器外形

1.冷却帽 2.上接线板 3.静触头 4.静弧触头 5.喷头
6.动弧触头 7.动触头 8.气缸 9.动触头支座 10.下接线板
图5 瓷柱式断路器灭弧室(带CT时项10为外壳装配)
1.合闸缓冲
2.外拐臂
3.内拐臂
4.分闸缓冲
5.滚轮
6.调整垫片
图6 传动箱及缓冲装置
注:*相间距640时,分别对应680,400;如订相间距640的,请特别说明
图8 LW8-40.5(T)(CT)瓷柱式平行布置型断路器安装基础图(含地脚埋设示意图)
原基础配用开关型号 |
安装尺寸(M×N) |
基础架高度 |
DW1-35 |
1795×860 |
1200 |
DW2-35 |
2120×1114 |
1500 |
DW8-35 |
1792×888 |
1500 |
说明: 1、本基础架适用于原多油断路器地基安装LW8-40.5(A)断路器过渡使用;
2、基础架骨架由6.3#等边角钢焊接而成;
3、用户如有特殊要求,也可根据用户的要求进行重新设计。
图9 LW8-40.5(T)瓷柱式平行布置型断路器基础架
图10 LW8-40.5(T)一次接线板 铝 4-φ16
说明:1、本图仅供用户参考,亦可根据用户要求进行定做。
2、用户按此图做吊具时,应首先就其焊接处进行强度校核,确认无误后方可投入使用。
图11 吊具示意图
测量板按图a图b所示
位置放置用内卡分别测量
H2、H4、H6然后按下式计算
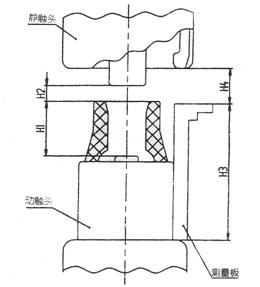
1.开距(HK)HK=H1+H2
2.行程(HX)HX=(H3+H4)-
(H5+H6)
注:H1H3H5分别为测量板外型
尺寸,计算时,应先测出具时间
尺寸,再代入上式。
图13a 断路器在分闸位置
图13b 断路器在合闸位置
合闸线圈电流信号
三相断口信号
行程记录器信号
(每一矩形波对应断
路器拐臂转动5度)
- 合闸时间:Th1直接读出。
- 合闸速度:合闸速度的定义为在合闸瞬间前,断路器拐臂转动10度, 相应动触头运动的这段距离的平均速度,取拐臂转动与触头直线运动的换算系数为1.6毫米/度,因此,合闸速度
Uh=(m/s)
图15 合闸特性的测量
分闸线圈电流信号
三相断口信号
行程记录器信号
(每一矩形波对应断路
器拐臂转动5度)
1.分闸时间:Tf1直接读出
2.分闸速度:分闸速度的定义在分闸瞬间后,断路器拐臂转动20度,相应动触头运动的这段距离的平均速度,换算系数同图18。
因此,分闸速度
Uf= (m/s)
图16 分闸特性的测量
1.偏心轮 2.滚轮 3.驱动块 4.连杆 5.驱动赫爪 6.靠板
- 赫轮 8.储能轴 9.定位件 10.保持赫爪 11.驱动板
12.凸轮 13.拐臂 14.轴销 15.滚子 16.合闸弹簧
图18 机构储能部分动作图
- 合闸电磁铁 2.导板 3.杠杆 4.复位弹簧 5.储能轴
- 滚子 7.手动合闸按钮 8.轴 9.定位件 10.滚子
11.连锁板 12.复位弹簧 13.输出轴 14.拉杆 15.螺栓
图19 机构合闸操作系统示意图
- 复位弹簧 2.半轴 3.连板 4.扇形板 5.凸轮 6.定位件
- 滚子 8.连杆 9.输出轴 10.储能轴
图20 凸轮连杆机构动作示意图
1.分闸电磁铁 2.调节螺钉 3.手动分闸按钮 4.连接螺杆 5.弯板 6.顶杆
图21(a)分闸系统示意图
7.扇形板 8.半轴 9.限位螺钉
图21(b)合闸位置时扇形板与半轴的位置
1.油缸 2.调节垫片 3.槽钢
图22 油缓冲器
LW8-40.5(T)六氟化硫断路器SF6气体微量水份曲线图

