| ZW20-12柱上分界开关的产品概述 |
|
ZW20-12型户外交流高压真空分界断路器(以下简称分界断路器)是乐清市吉电电气有限公司自主研发的一款新型产品,分界断路器是集真空断路器、真空负荷开关、重合器、分段器四大开关于一体的多功能智能化装置产品,主要配置由真空断路器本体、CH-40型控制器、外置电压互感器(注:配网自动化环网线路中可选双侧PT)三大部分组成,产品广泛用于10kV、13kV城市、农村配电网架空环网线路中作分段隔离开关与联络开关、可实行环网线路负荷调配的自动化开关装置,在大用户供电的分支线路中可作为分界开关(俗称看门狗),馈线架空配电网络作重合器与分段器之用,分界断路器具有远程管理模式,保护控制功能及通讯功能。能可靠判断、检测界内毫安级零序电流及相间短路故障电流,实现自动切除单相接地故障和相间短路故障。 |
| ZW20-12柱上分界开关的使用环境 |
|
1.海拔高度:≤2000米 |
| ZW20-12柱上分界开关的结构特点 |
|
1.分界断路器由ZW20-12型真空断路器上优化改进的,外置电压互感器及(FDR-02)型智能控制器组成,通过全密封防水型航空接插件和户外密封电缆进行电气连接。 |
| ZW20-12柱上分界开关的产品性能 |
|
a.装有真空灭弧室的分界断路器开断性能稳定可靠,采用环氧树脂和硅橡胶整体浇注,尤其A、C两相的拐角套管,保证良好的外绝缘,具有无燃烧和爆炸危险、安全、体积小、重量轻和使用寿命长等特点。 |
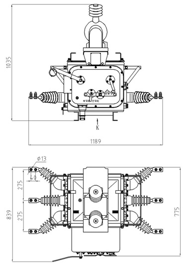
| ZW20-12柱上分界开关外形尺寸图 |
|
|

