| FN12-12负荷开关的产品概述: |
|
FN12压气式负荷开关,FRN12-12D系列压气式负荷开关-熔断器组合电器由乐清市吉电电气有限公司研发生产,适用于12kV及以下三相配电系统中,作为变压器、电缆、架空线路等电力设备的控制和保护之用;特别适用于城网、农网的终端变电站及箱式变电站。并适用于环网、双辐射供电单元的控制和保护。 |
| FN12-12负荷开关的使用环境: |
|
周围空气温度 上限:+40℃, 下限:-25℃ |
| FN12-12负荷开关的结构特点: |
|
负荷开关、接地开关、熔断器及机构在一个框架上,可灵活组合,结构紧凑,体积小,安装方便简易; |
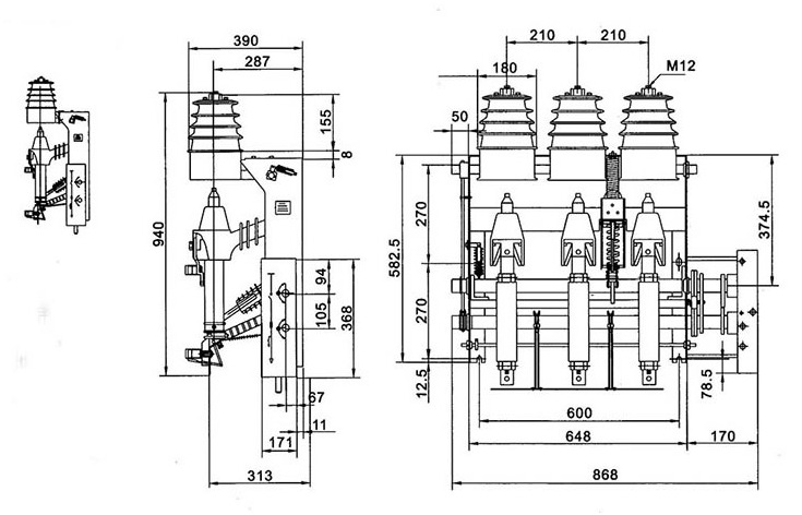
| FN12-12负荷开关外形尺寸图: |
|
|
|
|
|
乐清市吉电电气有限公司本着优质、高效、发展的精神,以优质的产品、贴心的服务为理念,并公开、负责地向您郑重承诺如下: |

