GW13型高压中性点隔离开关概述:
GW13系列中性点隔离开关是在无载荷情况下,分何变压器中性点联线之用,在闸刀处于正常分闸位置时,可提供一个符合安全要求的绝缘距离。操动机构输出轴可作180度水平旋转,操作机构上的定位装置能保证触头与静触头处于正确位置或分断位置。本中性点隔离开关满足GB1985《交流高压隔离开关和接地开关》及IEC-129(1984)标准要求。它性能可靠、运行安全、结构简单、安装调整方便。广泛使用于63KV-110KV变电站。
GW13型高压中性点隔离开关特点:
1、改进了轴承转盘结构,使轴承座实现了防水功能。且配有注油孔、调整螺钉,开关的整体性强且维护更加简单、方便。
2、导电杆与触头之间、导电杆与触指座之间均采用铜焊工艺,另外触指与触指座之间加装软连接,使产品的主回路电阻比采用螺钉连接的大幅减小,从而减少触头在运行中的发热问题。接地导杆采用导电性能优良的铝合金,触头部分采用铜铸件,导电杆与底座连接处及接地触指与触指座之间均加装软连接,因此接地回路的导电性能大大的增强。
3、导电外露部分均采用紫铜镀银的表面处理工艺,镀银处理,表面光洁、美观、抗腐蚀能力强、持久耐用。
4、改进轴与孔配合方式:铁与铜配合改为铜与铜配合或不锈钢与铜配合,解决了在户外长期使用出现的咬死现象。外露标准件采用不锈钢;金属件采用热镀锌处理,开关的耐腐蚀能力更强。
GW13型高压中性点隔离开关主要技术参数:

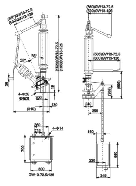
GW13型高压中性点隔离开关外形安装尺寸:

